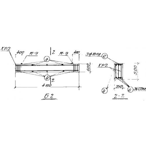
Б 2 балки

Чертеж изделия:
Характеристики изделия:
ПараметрЗначение
длина4100 мм
ширина250 мм
высота500 мм
масса1250 кг
нормативный документСерия ИС 01-04

Б 2 Бетонные армированные балки лотков каналов по Серии ИС 01-04.