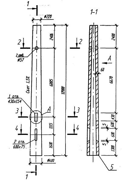
СКЦ 12-10
Характеристики изделия:
| Параметр | Значение |
|---|---|
| Длина L | 12000 мм |
| Диаметр D1 | 400 мм |
| Диаметр D2 | 220 мм |
| Вес | 1425 кг |
| Норма погрузки на машину (20тн) | 14 шт |
| Вагонная норма погрузки | - |
Цена:
Рассчитать стоимостьСтойка СКЦ 12-10 изготавливается согласно нормам серии Б3.507.1-3.04. Данные стойки предназначены для опор наружного освещения и контактных сетей городского транспорта с кабельной подводкой питания. Стойки СКЦ представляют собой усеченный конус со сквозным каналом внутри.
