БПД 115
Характеристики изделия:
| Параметр | Значение |
|---|---|
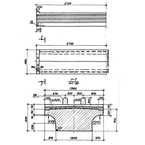
| длина | 11500 мм |
| ширина | 1940 мм |
| высота | 830 мм |
| вес | 34200 кг |
| Серия | 3.501.1-146 |
Цена:
Рассчитать стоимостьБПД 115 Балки железобетонные плитные для двухпутного участка по Серии 3.501.1-146.
| Параметр | Значение |
|---|---|
| длина | 11500 мм |
| ширина | 1940 мм |
| высота | 830 мм |
| вес | 34200 кг |
| Серия | 3.501.1-146 |
БПД 115 Балки железобетонные плитные для двухпутного участка по Серии 3.501.1-146.
