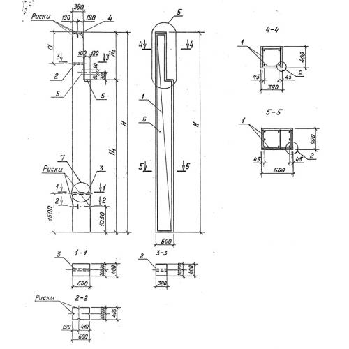
К 39 колонна сборная

Чертеж изделия:
Характеристики изделия:
ПараметрЗначение
длина7700 мм
ширина600 мм
высота600 мм
масса4200 кг
нормативный документСерия 3.015-1/92

К 39  Колонны сборные Серия 3.015-1/92.