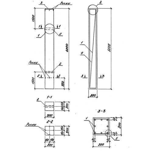
К 1

Чертеж изделия:
Характеристики изделия:
ПараметрЗначение
длина6000 мм
ширина300 мм
высота300 мм
масса1400 кг
нормативный документСерия 3.015-16.94

К 1  Колонны бетонные Серия 3.015-16.94.