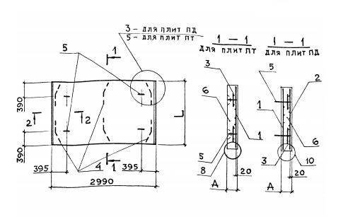
ПД 300.210.16 плиты днища

Чертеж изделия:
Характеристики изделия:
ПараметрЗначение
длина2990 мм
ширина2080 мм
высота160 мм
масса2500 кг
нормативный документСерия 3.006.1-8

ПД 300.210.16  Плиты днища каналов Серия 3.006.1-8.