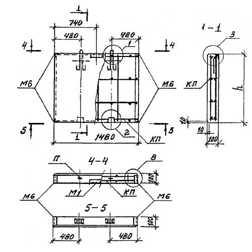
ПС 15.12.1

Чертеж изделия:
Характеристики изделия:
ПараметрЗначение
длина1480 мм
ширина100 мм
высота1185 мм
вес450 кг
серия1.432.1-34.94

ПС 15.12.1 Панели стеновые по серии 1.432.1-34.94.