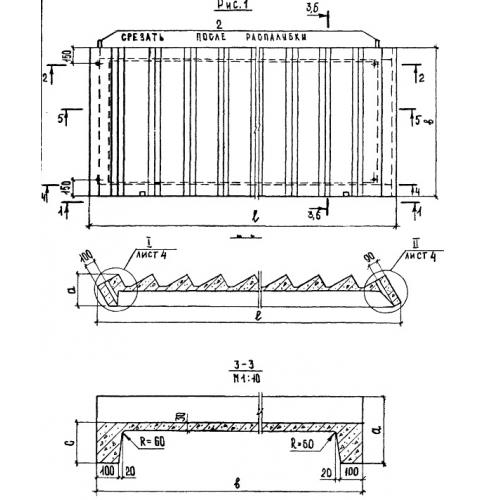
ЛМ 21.13

Чертеж изделия:
Характеристики изделия:
ПараметрЗначение
длина4946 мм
ширина1350 мм
высота349 мм
вес1930 кг
серия1.251-3

ЛМ 21.13 Лестничные марши ребристые по серии 1.251-3.