ПК 24.12

Чертеж изделия:
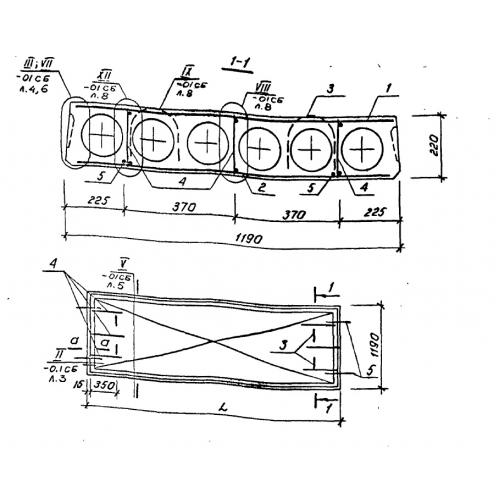
Характеристики изделия:
ПараметрЗначение
длина2380 мм
ширина1190 мм
высота220 мм
вес875 кг
серия1.141.1-23с

ПК 24.12 Плиты многопустотные по серии 1.141.1-23с.