3ПСВ 58-23-12-2т-4л

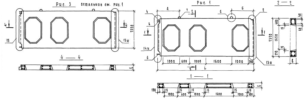
Чертеж изделия:
Характеристики изделия:
ПараметрЗначение
длина5830 мм
ширина120 мм
высота2320 мм
масса2300 кг
нормативный документСерия 1.131.1-25

Серия 1.131.1-25

Маркировка:

1. 3 – группа панелей;

2. ПСВ – (буквенное обозначение панели) Панель стеновая внутренняя;

3. 58  длина (в дм);

4. 23  высота (в дм);

5. 12  толщина (в см);

6.  несущая способность;

7. т  бетон тяжелый;

8.  тип проема.

л – левое исполнение.