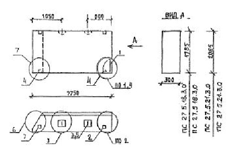
ПС 27.5.21.3.0 панели стеновые

Чертеж изделия:
Характеристики изделия:
ПараметрЗначение
длина2750 мм
ширина300 мм
высота2085 мм
масса2420 кг
нормативный документСерия 1.030.1-1/88

ПС 27.5.21.3.0  Панели стеновые Серия 1.030.1-1/88.